Analog Devices Inc. ADSP-2156x SHARC+ Single-Core High Performance DSP
Analog Devices Inc. ADSP-2156x SHARC+ Single-Core High-Performance DSPs are based on the SHARC+® single core, which is a member of the SIMD SHARC family of digital signal processors (DSPs) that feature ADI's Super Harvard Architecture. These 32-bit, 40-bit, and 64-bit floating-point processors are optimized for high-performance, audio/floating-point applications with a large on-chip static random-access memory (SRAM), multiple internal buses that eliminate input/output (I/O) bottlenecks, and innovative digital audio interfaces (DAI).Additional SHARC+ core features include cache enhancements and branch prediction while maintaining instruction set compatibility with previous SHARC products. The SHARC+ ADSP-2156x processors integrate a rich set of industry-leading system peripherals and memory. These features make the ADSP-2156x ideal for applications that require programmability similar to reduced instruction set computing (RISC), multimedia support, and leading-edge signal processing, while in one integrated package. These applications span a wide array of markets, including automotive, professional audio, and industrial-based applications that require high floating-point performance.
Features
- Enhanced SHARC+ high-performance floating-point core
- Up to 1GHz
- Up to 5Mb (640kB) Level 1 (L1) SRAM memory with parity (optional ability to configure as cache)
- 32-bit, 40-bit, and 64-bit floating-point support
- 32-bit fixed point
- Byte, short word, word, and long word addressed
- Powerful DMA system
- On-chip memory protection
- Integrated safety features
- Low system power across the automotive temperature range
- Enhanced FIR and IIR accelerators running up to 1GHz
- Memory
- Large on-chip Level 2 (L2) SRAM with ECC protection, up to 1MB
- One Level 3 (L3) interface optimized for low system power, providing a 16-bit interface to DDR3 (supporting 1.35V capable DDR3L devices) SDRAM devices
- Security and Protection
- Crypto hardware accelerators
- Fast secure boot with IP protection
- Package options
- 17mm × 17mm, 400-ball CSP_BGA, 0.8mm pitch
- 120-lead LQFP_EP, 0.4mm pitch
- RoHS compliant
Applications
- Automotive: audio amplifier, head unit, ANC/RNC, rear seat entertainment, digital cockpit, ADAS
- Consumer: speakers, sound bars, AVRs, conferencing systems, mixing consoles, microphone arrays, headphones
Videos
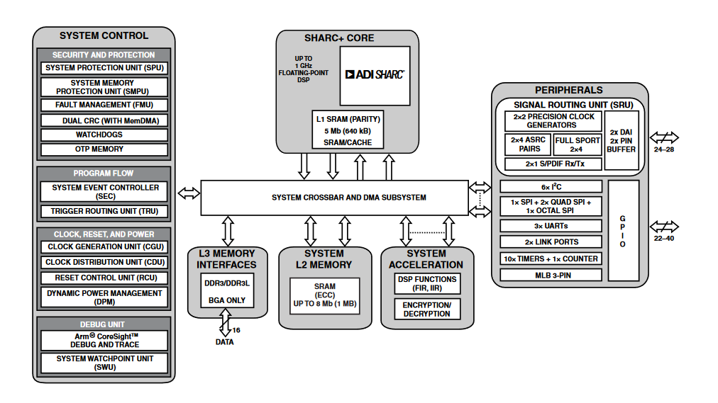
Block Diagram
ADDITIONAL RESOURCES
Leverage on-chip FIR and IIR hardware accelerators
Finite impulse response (FIR) and infinite impulse response (IIR) filters are the most frequently used digital signal processing algorithms, especially for audio processing applications. Learn how to use the on-chip FIR and IIR hardware accelerators to free up the core for other processing.
